A Sony patent of 2015 shows a Nintendo Switch-like handheld console
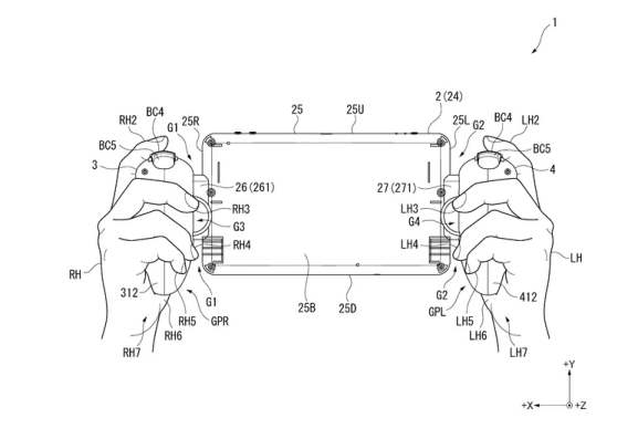
Japanese blog Esuteru shared some images of a Sony patent dated back on 2015 related to a similar concept to the handheld console of Nintendo Switch: The device in question consists of a central tablet and two side units with controls.

We are not surprised by a move of Sony to patent products designed by other companies with more or less success. Proof of this are the Wiimote and the PlayStation Move to cite one of the many examples that exist.
An alleged Sony patent issued on August 6, 2015 but recently published, shows a device with controllers on both sides of a portable-style notebook screen that undoubtedly reminds of Nintendo Switch.
Everything here should be read with caution since the blog where the patent data is detailed does not seem to have any official connection with the patent office of any region, the patent seems to be old and not necessarily all products patented by a company end up becoming commercial products.
From the pictures it is unclear whether the two side of joypad are separable from the body or whether they are fixed, even if the first hypothesis seems the most likely. It is not excluded that the patent in question can only relate to the idea of a gaming controller for tablets and is not related to a real new portable device.
In any case, as we reiterate the existence of the patent does not necessarily imply the existence of this project. What do you think of this idea? Do let us know in the comment seciton below.